腾讯云每次发布的促销活动还是比较受用户喜欢的,比较直观简单易操作,可以比较清楚简便的找到自己所需求的云服务器方案。2019年12月腾讯云服务器促销活动已经进行一段时间了,就目前来看腾讯云针对新用户的秒杀活动主打的是2核4G内存配置,有3Mbps带宽、6Mbps带宽国内云服务器方案可以选择。从主打的云服务器配置来看,腾讯云应该是经过大量的市场调研的,因为2核4G内存配置应该是个人用户、一般企业用户使用最为广泛的配置了,无论是建站、还是当做小游戏服务器或者是其他一般企业用途,均为非常适合的配置,不高不低,恰到好处。从定价来看,3Mbps带宽是998元/3年和6Mbps带宽是1499元/3年,单从价格来看也已经非常诱人了,并且支持随时免费更换ip,平均下来最低27.72每月起,也就是一包烟的钱吧。相比小厂,腾讯云服务器产品站长还是非常推荐大家使用的。
关于腾讯云2019年双12云服务器促销活动,主机玖玖在腾讯云服务器12月秒杀 2核4G3M998元/3年 2核4G5M1499元/3年 免费换ip文章当中已经有过详细介绍了。详情大家可以参考上面文章,并且腾讯云服务器如何免费更换IP,文章当中也有详细的介绍。此文章当中站长重点对2019年腾讯云服务器秒杀活动当中的主打配置2核4G内存6M带宽的标准型S2云服务器方案做一个最新的测评。看看腾讯云双12促销的云服务器性能怎么样,到底好不好,值不值得购买。
另外如果想使用腾讯云目前针对国外稳定云服务器也有促销活动,有香港CN2 GIA、日本、韩国、美国、俄罗斯等数据中心的云服务器可以选择。关于腾讯云海外稳定云服务器的促销活动主机玖玖也有详细介绍,详情可以参考:日本服务器:稳定建站 ,免费切换IP,新老用户2折起-主机玖玖" href="https://www.zhuji999.com/36564.html" target="_blank" rel="noopener noreferrer">腾讯云香港/韩国/日本服务器:稳定建站 ,免费切换IP,新老用户2折起。
一、腾讯云官网
腾讯云2019年双12云服务器促销活动持续到2019年12月31日截止。有需求的请在活动期间内看准下手。
二、腾讯云服务器推荐
下面列举了2019年双12腾讯云服务器秒杀活动当中两款2核4G内存三年付的方案。另外还要1核2G1M年付99元首年、1核1G1M香港云服务器249元首年,以及其他一些2核4G一年、1核4G一年或三年便宜的云服务器方案。大家可以通过活动页面选择,这里就不一一列举了。另外企业认证用户也有专享的促销云服务器产品,均可以在活动页面查看,最高可以选择4核8G内存10Mbps带宽,三年付低至1.5折!!!
|
|
三、腾讯云服务器测评
下面站长自己购入了一台2核4G内存6M带宽的上海二区标准型S2云服务器方案。如果有兴趣博友们可以参与下面关于2019年双12促销腾讯云服务器测评结果。
1、腾讯云上海云服务器基本信息测试。线路是电信、联通、移动三网BGP线路,对于国内网络访问是非常优秀的。
2、腾讯云上海云服务器CPU、内存、硬盘性能测试。
3、腾讯云上海云服务器国内节点的速度测试。腾讯云上海云服务器下行速度给的是80Mbps-100Mbps的样子。1MB/s=8Mbps,所以上行6Mbps基本都能跑满。
节点名称 上传速度 下载速度 Ping延迟 距离最近测速点 0.85 MB/s 10.94 MB/s 21.441 ms 上海电信 0.28 MB/s 10.83 MB/s 20.644 ms 广州电信5G 0.61 MB/s 9.08 MB/s 113.358 ms 北京电信5G 0.35 MB/s 10.89 MB/s 49.794 ms 合肥电信5G 0.30 MB/s 10.77 MB/s 34.918 ms 南宁电信5G 0.63 MB/s 10.98 MB/s 20.115 ms 苏州电信5G 0.70 MB/s 10.14 MB/s 22.249 ms 连云港电信5G 0.42 MB/s 10.84 MB/s 12.482 ms 重庆电信 0.83 MB/s 10.37 MB/s 40.947 ms 杭州电信 0.72 MB/s 10.83 MB/s 6.774 ms 武汉电信 0.82 MB/s 10.95 MB/s 24.412 ms 天津联通5G 0.84 MB/s 10.90 MB/s 29.897 ms 济南联通5G 0.36 MB/s 10.93 MB/s 44.141 ms 上海联通5G 0.81 MB/s 10.83 MB/s 100.988 ms 广州联通5G 0.78 MB/s 10.83 MB/s 49.18 ms 北京联通 0.51 MB/s 10.67 MB/s 215.055 ms 吉林联通 0.51 MB/s 10.83 MB/s 60.638 ms 南宁联通 0.62 MB/s 10.63 MB/s 29.784 ms 长沙联通 0.47 MB/s 10.92 MB/s 28.066 ms 成都联通 0.75 MB/s 10.85 MB/s 169.541 ms 福州联通 0.50 MB/s 10.89 MB/s 53.923 ms 武汉联通 0.83 MB/s 10.93 MB/s 27.401 ms 西安联通 0.81 MB/s 10.74 MB/s 94.758 ms 上海移动 0.85 MB/s 10.25 MB/s 38.777 ms 广州移动 0.56 MB/s 10.75 MB/s 46.546 ms 深圳移动 0.70 MB/s 10.74 MB/s 55.989 ms 青岛移动5G 0.80 MB/s 9.34 MB/s 51.622 ms 济南移动5G 0.30 MB/s 0.18 MB/s 47.09 ms 郑州移动5G 0.83 MB/s 10.54 MB/s 45.898 ms 天津移动5G 0.81 MB/s 10.91 MB/s 64.371 ms 无锡移动5G 0.83 MB/s 10.96 MB/s 103.824 ms 上海移动5G 0.42 MB/s 10.30 MB/s 4.455 ms 南宁移动5G 0.73 MB/s 10.99 MB/s 124.95 ms 宁波移动5G 0.48 MB/s 8.90 MB/s 7.944 ms 合肥移动5G 0.85 MB/s 10.94 MB/s 55.16 ms 长沙移动5G 0.67 MB/s 11.00 MB/s 39.833 ms
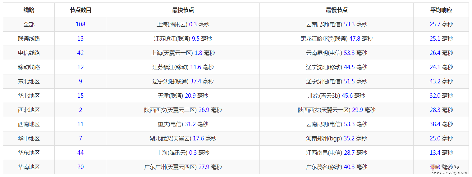
4、腾讯云上海云服务器国内节点ping测试结果。






