腾讯云服务器产品目前有16个地区的数据中心可以选择,其中海外数据中心占绝大多数,除了上海、北京、广州、重庆、成都四个国内数据中心外,其他的均为海外数据中心,所以腾讯云海外云服务器有中国香港云服务器、日本东京云服务器、韩国首尔云服务器、美国硅谷云服务器、美国弗吉尼亚云服务器、新加坡云服务器、越南曼谷云服务器、俄罗斯莫斯科云服务器、印度孟买云服务器、加拿大多伦多云服务器、德国法兰克福云服务器等等可以选择。
一、腾讯云其他测评
相对来说我们选择海外数据中心大多数是为了拓展海外业务或者是出于稳定建站的原因才选择海外数据中心云服务器产品,那么速度怎么样,适不适合国内用户稳定建站使用,这个是必须需要弄清楚的。这段时间腾讯云有云服务器全球购促销活动,海外云服务器相对来说价格比较便宜,所以站长近期选择将对腾讯云亚太地区的数据中心中国大陆访问速度进行一个测评,目前已经对腾讯云日本服务器、腾讯云香港服务器进行过体验测评了,详情可以参考:
二、腾讯云最新活动
另外腾讯云近期的两个促销活动有兴趣的也可以关注下:
- 腾讯云香港/韩国/日本服务器:稳定建站 ,免费切换IP,新老用户2折起(腾讯云海外云服务器促销活动)
- 腾讯云双11秒杀:新老用户均有车,国内/香港/美国可选、首年低至88元,2核4G5M、998元/3年,2核8G5M、1288元/3年(腾讯云大陆、香港云服务器促销)
如果你关注到此文章的时候腾讯云上述两个活动已经结束,请在博客搜“腾讯云”即可查看到腾讯云服务器相关的最新促销活动及动态文章,可以及时掌握资讯以最实惠的价格购入到腾讯云服务器产品。
三、腾讯云服务器优势
腾讯云服务器是支持免费更换ip的,这个点比较适合需要经常更换ip的用户!腾讯云国内云服务器、海外云服务器均支持免费更换ip,具体怎么更换,主机玖玖在下面文章当中有过详细介绍。
四、腾讯云韩国服务器测评
今天站长也开通了一台腾讯韩国云服务器产品,选择的是2核4G内存的标准型方案、5Mbps带宽,具体速度怎么样大家可以参考下面的测评记录。测试前站长已经为自己开通的韩国云服务器启动了BBRplus内核加速优化,如何提升Linux系统服务器的网络利用率,大家可以参考此文章:#脚本分享#使用Linux网络优化加速一键脚本快速为VPS提速[一键安装Lotserver(锐速)/BBR/BBR魔改版/暴力BBR魔改版],此脚本可以一键启用BBR加速、BBR魔改版加速、暴力BBR魔改版加速、BBRplus版加速、Lotserver(锐速)加速等多个版本。下面我们一起来看看腾讯云腾讯云韩国服务器测评,腾讯云韩国服务器速度怎么样?腾讯云韩国服务器到国内速度好不好?腾讯云韩国服务器适不适合稳定建站?
从下面测试结果来看,总体来说腾讯云韩国服务器在国内访问速度方面还是非常不错的,电信联通去程KT、回LG,移动往返从香港出、走LG线路,国内三网平均延迟80毫秒以内,稳定建站完全可以满足!!!
1、腾讯云韩国云服务器基本信息及网络信息测试。
2、腾讯云韩国云服务器cpu、内存、硬盘性能测试。腾讯云服务器对硬盘io读写速度是有限制的,均为100MB/s左右。
3、腾讯云韩国服务器到国内电信、联通、移动ping测试结果。114个有效测试节点,平均速度是76.9毫秒,电信、联通线路相对较好,移动平均速度稍差一点、但也再100毫秒左右,这个速度稳定建站是挺不错的。
| 线路 | 节点数目 | 最快节点 | 最慢节点 | 平均响应 |
|---|---|---|---|---|
| 全部 | 114 | 浙江杭州(联通) 29.6 毫秒 | 江苏宿迁(UOVZ) 231.0 毫秒 | 76.9 毫秒 |
| 联通线路 | 11 | 浙江杭州(联通) 29.6 毫秒 | 安徽滁州(联通) 81.0 毫秒 | 52.2 毫秒 |
| 电信线路 | 57 | 浙江杭州(电信) 31.5 毫秒 | 广东中山(电信) 123.3 毫秒 | 77.5 毫秒 |
| 移动线路 | 10 | 广东广州(移动) 50.7 毫秒 | 江苏宿迁(UOVZ) 231.0 毫秒 | 104.5 毫秒 |
| 东北地区 | 6 | 黑龙江哈尔滨(联通) 60.7 毫秒 | 吉林长春(铁通) 103.3 毫秒 | 84.1 毫秒 |
| 华北地区 | 14 | 天津(联通) 47.4 毫秒 | 北京(鹏博士) 137.1 毫秒 | 70.1 毫秒 |
| 西北地区 | 6 | 陕西西安(天翼云一区) 75.7 毫秒 | 新疆乌鲁木齐(天翼云) 117.1 毫秒 | 93.5 毫秒 |
| 西南地区 | 12 | 重庆(联通) 65.2 毫秒 | 重庆(腾讯云) 108.1 毫秒 | 94.4 毫秒 |
| 华中地区 | 8 | 湖南长沙(联通) 55.1 毫秒 | 河南洛阳(bgp) 97.8 毫秒 | 75.8 毫秒 |
| 华东地区 | 45 | 浙江杭州(联通) 29.6 毫秒 | 江苏宿迁(UOVZ) 231.0 毫秒 | 70.6 毫秒 |
| 华南地区 | 23 | 广东广州(移动) 50.7 毫秒 | 广东中山(电信) 123.3 毫秒 | 78.5 毫秒 |
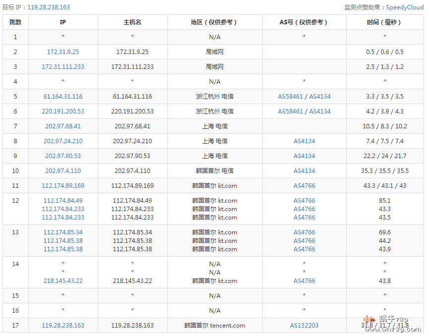
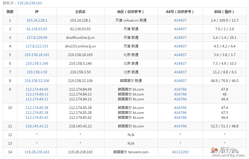
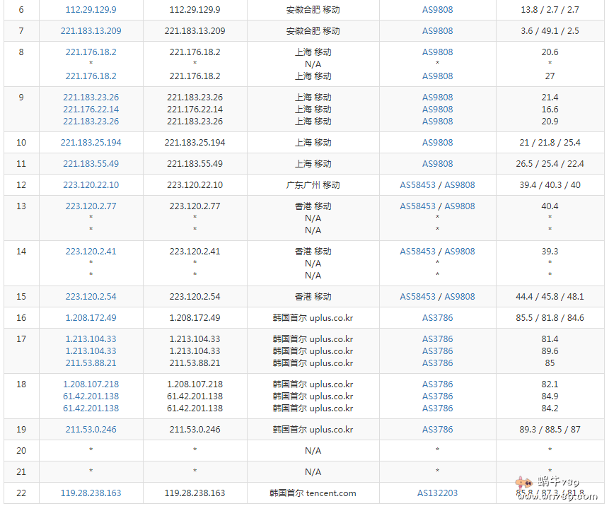
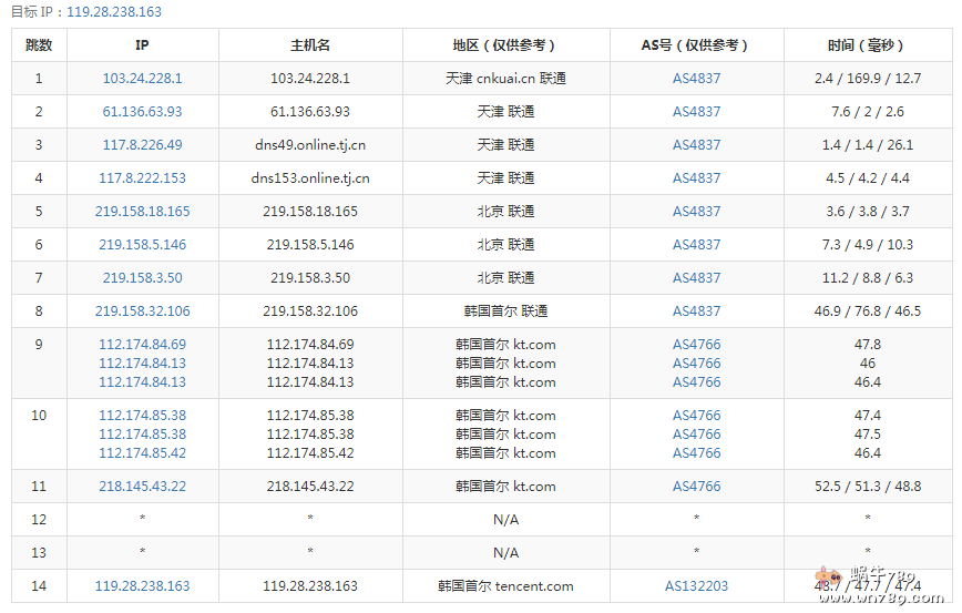
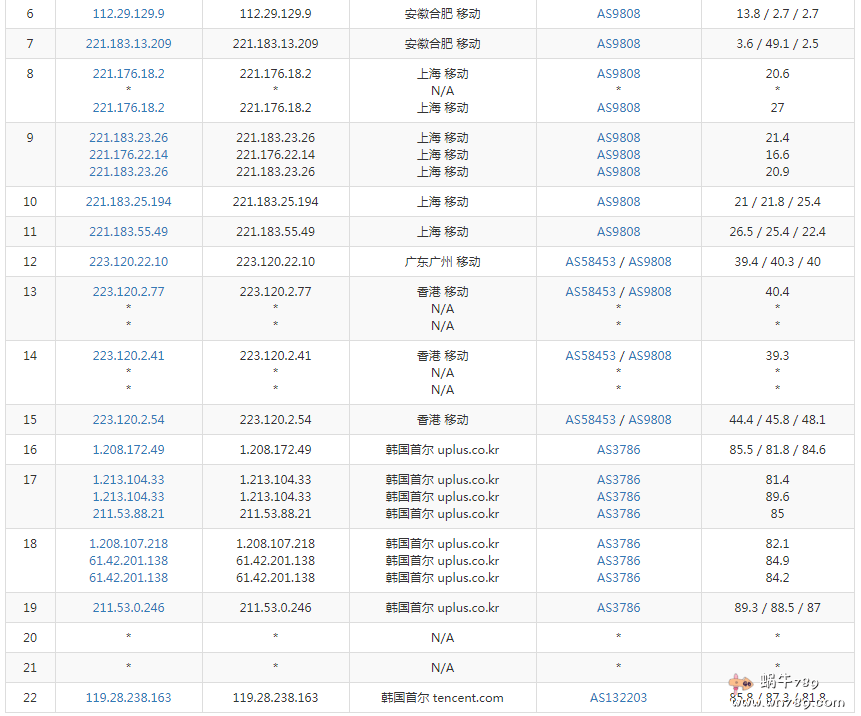
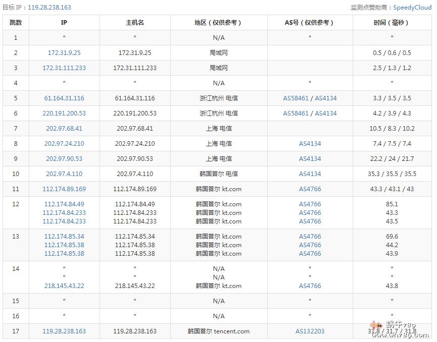
4、电信、联通、移动访问腾讯云韩国云服务器去程路由情况测试。去程路由相对来说电信、联通是非常不错的,KT直连韩国,移动稍差、但是也不错、走香港出、LG线路到韩国。
浙江杭州电信去程路由情况。走kt直连韩国。
天津联通去程路由追踪情况,kt直连韩国。
安徽合肥移动去程路由最终情况,走香港出、lg线路到韩国。
5、三网回程均走LG,电信、联通直连,移动还是走香港回。
---------------------------------------------------------------------- 北京电信 traceroute to 220.181.22.1 (220.181.22.1), 30 hops max, 60 byte packets 1 10.165.198.35 0.70 ms * 局域网 2 10.165.198.34 0.61 ms * 局域网 3 10.196.78.13 0.90 ms * 局域网 4 211.53.0.245 8.66 ms AS3786 韩国 首尔 uplus.co.kr 5 210.120.105.213 15.93 ms AS3786 韩国 首尔 uplus.co.kr 6 1.208.106.90 1.70 ms AS3786 韩国 首尔 uplus.co.kr 7 1.213.105.46 25.15 ms AS3786 中国 上海 uplus.co.kr 8 202.97.70.17 30.11 ms * 中国 上海 电信 9 202.97.48.254 36.93 ms AS4134 中国 上海 电信 10 * 11 * 12 220.181.16.18 87.97 ms AS23724 中国 北京 电信 13 218.30.112.141 64.45 ms AS23724 中国 北京 电信 14 220.181.22.1 99.62 ms AS23724 中国 北京 电信 ---------------------------------------------------------------------- 辽宁联通 traceroute to 220.201.8.6 (220.201.8.6), 30 hops max, 60 byte packets 1 10.165.196.251 0.70 ms * 局域网 2 10.165.196.250 0.72 ms * 局域网 3 10.196.78.1 1.00 ms * 局域网 4 211.53.0.185 0.67 ms AS3786 韩国 首尔 uplus.co.kr 5 1.208.107.209 0.89 ms AS3786 韩国 首尔 uplus.co.kr 6 1.208.147.118 2.17 ms AS3786 韩国 首尔 uplus.co.kr 7 219.158.38.117 57.84 ms AS4837 中国 联通 8 219.158.16.81 45.66 ms AS4837 中国 北京 联通 9 219.158.4.169 52.32 ms AS4837 中国 北京 联通 10 219.158.21.82 63.38 ms AS4837 中国 辽宁 沈阳 联通 11 218.61.254.222 54.12 ms AS4837 中国 辽宁 沈阳 联通 12 218.61.254.202 52.84 ms AS4837 中国 辽宁 沈阳 联通 13 218.61.252.150 56.28 ms AS4837 中国 辽宁 沈阳 联通 14 * 15 * 16 * 17 220.201.8.6 54.40 ms AS4837 中国 辽宁 联通 ---------------------------------------------------------------------- 北京移动 traceroute to 221.130.33.1 (221.130.33.1), 30 hops max, 60 byte packets 1 10.165.198.35 0.67 ms * 局域网 2 10.165.198.34 0.54 ms * 局域网 3 10.196.78.5 0.77 ms * 局域网 4 211.53.0.185 0.67 ms AS3786 韩国 首尔 uplus.co.kr 5 1.208.107.209 0.85 ms AS3786 韩国 首尔 uplus.co.kr 6 1.213.104.34 0.89 ms AS3786 韩国 首尔 uplus.co.kr 7 1.208.172.50 41.41 ms AS3786 韩国 首尔 uplus.co.kr 8 223.120.2.53 42.02 ms AS58453 中国 香港 移动 9 * 10 223.120.2.86 46.79 ms AS58453 中国 广东 广州 移动 11 223.120.22.29 76.85 ms AS58453 中国 广东 广州 移动 12 221.183.55.106 80.20 ms AS9808 中国 北京 移动 13 221.183.46.254 80.18 ms AS9808 中国 北京 移动 14 221.176.21.229 78.03 ms AS9808 中国 北京 移动 15 * 16 221.179.159.238 80.33 ms AS56048 中国 北京 移动 17 221.130.33.1 78.57 ms AS56048 中国 北京 移动 ---------------------------------------------------------------------- 杭州电信 traceroute to 60.176.0.1 (60.176.0.1), 30 hops max, 60 byte packets 1 10.165.196.251 0.66 ms * 局域网 2 10.165.196.250 0.61 ms * 局域网 3 10.196.78.9 0.94 ms * 局域网 4 211.53.0.245 0.97 ms AS3786 韩国 首尔 uplus.co.kr 5 1.208.107.205 5.28 ms AS3786 韩国 首尔 uplus.co.kr 6 61.43.235.22 1.52 ms AS3786 韩国 首尔 uplus.co.kr 7 * 8 202.97.12.53 74.35 ms AS4134 中国 北京 电信 9 * 10 202.97.68.162 79.85 ms * 中国 浙江 杭州 电信 11 * 12 1.0.176.60.broad.hz.zj.dynamic.163data.com.cn (60.176.0.1) 82.45 ms AS4134 中国 浙江 杭州 电信 ---------------------------------------------------------------------- 宁波联通 traceroute to 60.12.17.1 (60.12.17.1), 30 hops max, 60 byte packets 1 10.165.196.251 0.70 ms * 局域网 2 10.165.196.250 2.68 ms * 局域网 3 10.196.78.9 0.95 ms * 局域网 4 211.53.0.245 0.73 ms AS3786 韩国 首尔 uplus.co.kr 5 1.208.107.217 0.87 ms AS3786 韩国 首尔 uplus.co.kr 6 1.213.104.34 0.89 ms AS3786 韩国 首尔 uplus.co.kr 7 219.158.43.225 25.67 ms AS4837 中国 联通 8 219.158.19.78 28.53 ms AS4837 中国 上海 联通 9 219.158.19.81 28.91 ms AS4837 中国 上海 联通 10 219.158.115.146 37.86 ms AS4837 中国 浙江 杭州 联通 11 221.12.35.126 34.92 ms AS4837 中国 浙江 宁波 联通 12 * 13 60.12.17.1 32.83 ms AS4837 中国 浙江 宁波 联通 ---------------------------------------------------------------------- 杭州移动 traceroute to 211.140.0.2 (211.140.0.2), 30 hops max, 60 byte packets 1 10.165.198.35 0.74 ms * 局域网 2 10.165.198.34 0.58 ms * 局域网 3 10.196.78.13 0.98 ms * 局域网 4 211.53.0.245 0.80 ms AS3786 韩国 首尔 uplus.co.kr 5 210.120.105.213 12.81 ms AS3786 韩国 首尔 uplus.co.kr 6 1.208.145.110 5.38 ms AS3786 韩国 首尔 uplus.co.kr 7 1.208.172.50 42.10 ms AS3786 韩国 首尔 uplus.co.kr 8 223.120.2.53 42.99 ms AS58453 中国 香港 移动 9 223.120.2.6 47.74 ms AS58453 中国 广东 广州 移动 10 223.120.22.5 75.62 ms AS58453 中国 广东 广州 移动 11 221.183.55.30 76.10 ms AS9808 中国 上海 移动 12 221.183.25.189 76.01 ms AS9808 中国 上海 移动 13 221.176.17.177 75.60 ms AS9808 中国 上海 移动 14 221.176.22.122 98.94 ms AS9808 中国 浙江 杭州 移动 15 211.140.0.2 94.49 ms AS56041 中国 浙江 杭州 移动 ---------------------------------------------------------------------- 贵阳电信 traceroute to 58.42.224.1 (58.42.224.1), 30 hops max, 60 byte packets 1 10.165.196.251 0.60 ms * 局域网 2 10.165.196.250 0.74 ms * 局域网 3 10.196.78.9 0.96 ms * 局域网 4 211.53.0.245 0.77 ms AS3786 韩国 首尔 uplus.co.kr 5 1.208.107.217 48.26 ms AS3786 韩国 首尔 uplus.co.kr 6 211.53.88.22 10.55 ms AS3786 韩国 首尔 uplus.co.kr 7 211.40.6.110 72.63 ms AS3786 中国 北京 uplus.co.kr 8 202.97.12.61 67.53 ms AS4134 中国 北京 电信 9 202.97.34.157 80.86 ms AS4134 中国 北京 电信 10 * 11 202.97.69.126 139.33 ms * 中国 贵州 贵阳 电信 12 61.189.177.86 127.40 ms AS4134 中国 贵州 贵阳 电信 13 59.51.187.145 135.80 ms AS4134 中国 贵州 贵阳 电信 14 * 15 * 16 * 17 * 18 * 19 * 20 * 21 * 22 * 23 * 24 58.42.224.1 133.83 ms AS4134 中国 贵州 贵阳 电信 ---------------------------------------------------------------------- 贵阳联通 traceroute to 58.16.28.1 (58.16.28.1), 30 hops max, 60 byte packets 1 10.165.198.35 0.65 ms * 局域网 2 10.165.198.34 2.24 ms * 局域网 3 10.196.78.5 0.79 ms * 局域网 4 211.53.0.185 0.64 ms AS3786 韩国 首尔 uplus.co.kr 5 210.120.155.213 13.10 ms AS3786 韩国 首尔 uplus.co.kr 6 1.213.104.170 2.40 ms AS3786 韩国 首尔 uplus.co.kr 7 219.158.38.113 27.71 ms AS4837 中国 联通 8 219.158.113.142 26.23 ms AS4837 中国 上海 联通 9 219.158.113.113 23.84 ms AS4837 中国 上海 联通 10 219.158.106.26 59.94 ms AS4837 中国 贵州 贵阳 联通 11 * 12 * 13 58.16.28.1 49.69 ms AS4837 中国 贵州 贵阳 联通 ---------------------------------------------------------------------- 贵阳移动 traceroute to 211.139.0.10 (211.139.0.10), 30 hops max, 60 byte packets 1 10.165.198.35 0.68 ms * 局域网 2 10.165.198.34 0.65 ms * 局域网 3 10.196.78.13 0.96 ms * 局域网 4 211.53.0.245 0.72 ms AS3786 韩国 首尔 uplus.co.kr 5 61.42.201.137 1.76 ms AS3786 韩国 首尔 uplus.co.kr 6 1.213.144.110 1.94 ms AS3786 韩国 首尔 uplus.co.kr 7 1.208.172.50 42.43 ms AS3786 韩国 首尔 uplus.co.kr 8 * 9 223.120.2.14 47.50 ms AS58453 中国 广东 广州 移动 10 221.183.55.54 51.38 ms AS9808 中国 广东 广州 移动 11 221.176.19.213 48.27 ms AS9808 中国 广东 广州 移动 12 221.176.18.109 48.91 ms AS9808 中国 广东 广州 移动 13 * 14 221.183.53.18 77.06 ms AS9808 中国 贵州 贵阳 移动 15 * 16 ns1.gz.chinamobile.com (211.139.0.10) 73.40 ms AS9808 中国 贵州 贵阳 移动 ---------------------------------------------------------------------- 广州电信 traceroute to 14.215.116.1 (14.215.116.1), 30 hops max, 60 byte packets 1 10.165.196.251 0.61 ms * 局域网 2 10.165.196.250 0.79 ms * 局域网 3 10.196.78.9 0.86 ms * 局域网 4 211.53.0.245 0.72 ms AS3786 韩国 首尔 uplus.co.kr 5 1.208.107.217 0.92 ms AS3786 韩国 首尔 uplus.co.kr 6 211.53.88.22 7.08 ms AS3786 韩国 首尔 uplus.co.kr 7 * 8 202.97.12.53 68.68 ms AS4134 中国 北京 电信 9 * 10 * 11 183.2.254.30 99.62 ms AS58543 中国 广东 广州 电信 12 * 13 * 14 * 15 * 16 * 17 * 18 * 19 * 20 * 21 * 22 * 23 * 24 * 25 14.215.116.1 90.40 ms AS58543 中国 广东 广州 电信 ---------------------------------------------------------------------- 深圳联通 traceroute to 58.250.0.1 (58.250.0.1), 30 hops max, 60 byte packets 1 10.165.196.251 0.63 ms * 局域网 2 10.165.196.250 0.72 ms * 局域网 3 10.196.78.1 0.79 ms * 局域网 4 211.53.0.185 0.69 ms AS3786 韩国 首尔 uplus.co.kr 5 1.208.107.209 1.49 ms AS3786 韩国 首尔 uplus.co.kr 6 1.213.104.34 0.88 ms AS3786 韩国 首尔 uplus.co.kr 7 219.158.43.225 26.50 ms AS4837 中国 联通 8 219.158.113.134 22.63 ms AS4837 中国 上海 联通 9 219.158.113.109 23.13 ms AS4837 中国 上海 联通 10 219.158.7.58 59.95 ms AS4837 中国 广东 广州 联通 11 221.4.0.74 67.56 ms AS17816 中国 广东 深圳 联通 12 58.250.0.1 63.49 ms AS17623 中国 广东 深圳 联通 ---------------------------------------------------------------------- 广州移动 traceroute to 211.139.145.34 (211.139.145.34), 30 hops max, 60 byte packets 1 10.165.196.251 0.65 ms * 局域网 2 10.165.196.250 0.56 ms * 局域网 3 10.196.78.9 0.81 ms * 局域网 4 211.53.0.245 0.73 ms AS3786 韩国 首尔 uplus.co.kr 5 210.120.105.213 1.74 ms AS3786 韩国 首尔 uplus.co.kr 6 1.213.104.170 1.84 ms AS3786 韩国 首尔 uplus.co.kr 7 1.208.172.50 42.31 ms AS3786 韩国 首尔 uplus.co.kr 8 223.120.2.53 43.12 ms AS58453 中国 香港 移动 9 223.120.2.6 47.60 ms AS58453 中国 广东 广州 移动 10 221.183.55.58 49.11 ms AS9808 中国 广东 广州 移动 11 * 12 221.176.22.157 61.69 ms AS9808 中国 广东 广州 移动 13 221.183.26.166 63.34 ms AS9808 中国 广东 广州 移动 14 120.198.206.134 63.74 ms AS56040 中国 广东 广州 移动 15 221.179.44.57 63.44 ms AS56040 中国 广东 广州 移动 16 * 17 * 18 * 19 * 20 * 21 * 22 * 23 * 24 * 25 * 26 * 27 * 28 * 29 * 30 * ---------------------------------------------------------------------- 上海电信 traceroute to 101.95.120.109 (101.95.120.109), 30 hops max, 60 byte packets 1 10.165.196.251 0.71 ms * 局域网 2 10.165.196.250 2.57 ms * 局域网 3 10.196.78.1 0.90 ms * 局域网 4 211.53.0.185 0.68 ms AS3786 韩国 首尔 uplus.co.kr 5 1.208.107.209 5.24 ms AS3786 韩国 首尔 uplus.co.kr 6 1.208.147.118 1.49 ms AS3786 韩国 首尔 uplus.co.kr 7 211.40.6.158 24.87 ms AS3786 中国 上海 uplus.co.kr 8 202.97.55.201 22.17 ms AS4134 中国 上海 电信 9 202.97.94.149 78.31 ms AS4134 中国 广东 广州 电信 10 202.97.62.97 28.15 ms AS4134 中国 上海 电信 11 * 12 * 13 * 14 * 15 * 16 101.95.120.109 82.69 ms AS4812 中国 上海 电信 ---------------------------------------------------------------------- 上海联通 traceroute to 211.95.72.254 (211.95.72.254), 30 hops max, 60 byte packets 1 10.165.198.35 0.80 ms * 局域网 2 10.165.198.34 0.62 ms * 局域网 3 10.196.78.5 0.75 ms * 局域网 4 211.53.0.185 0.71 ms AS3786 韩国 首尔 uplus.co.kr 5 1.208.107.209 1.09 ms AS3786 韩国 首尔 uplus.co.kr 6 1.213.104.34 0.89 ms AS3786 韩国 首尔 uplus.co.kr 7 219.158.38.113 25.60 ms AS4837 中国 联通 8 219.158.113.142 25.81 ms AS4837 中国 上海 联通 9 219.158.113.105 22.91 ms AS4837 中国 上海 联通 10 139.226.225.138 23.06 ms AS17621 中国 上海 联通 11 139.226.201.58 23.72 ms AS17621 中国 上海 联通 12 112.65.207.22 25.02 ms AS17621 中国 上海 联通 13 140.207.207.190 25.34 ms AS17621 中国 上海 联通 14 211.95.72.254 23.74 ms AS17621 中国 上海 联通 ---------------------------------------------------------------------- 上海移动 traceroute to 183.192.160.3 (183.192.160.3), 30 hops max, 60 byte packets 1 10.165.196.251 0.77 ms * 局域网 2 10.165.196.250 0.67 ms * 局域网 3 10.196.78.9 0.97 ms * 局域网 4 211.53.0.245 0.69 ms AS3786 韩国 首尔 uplus.co.kr 5 210.120.105.213 1.77 ms AS3786 韩国 首尔 uplus.co.kr 6 1.208.145.110 2.29 ms AS3786 韩国 首尔 uplus.co.kr 7 1.208.172.50 42.19 ms AS3786 韩国 首尔 uplus.co.kr 8 223.120.2.53 42.66 ms AS58453 中国 香港 移动 9 223.120.2.14 47.56 ms AS58453 中国 广东 广州 移动 10 221.183.55.62 47.73 ms AS9808 中国 广东 广州 移动 11 221.176.24.133 49.03 ms AS9808 中国 广东 广州 移动 12 * 13 221.183.10.13 79.75 ms AS9808 中国 上海 移动 14 221.183.13.154 78.29 ms AS9808 中国 上海 移动 15 117.185.10.242 79.90 ms AS9808 中国 上海 移动 16 120.204.194.6 78.07 ms AS9808 中国 上海 移动 17 120.204.194.14 81.23 ms AS9808 中国 上海 移动 18 * 19 183.192.160.3 79.74 ms AS9808 中国 上海 移动 ---------------------------------------------------------------------- 成都教育网 traceroute to 202.112.14.151 (202.112.14.151), 30 hops max, 60 byte packets 1 10.165.198.35 0.58 ms * 局域网 2 10.165.198.34 0.64 ms * 局域网 3 10.196.78.13 0.84 ms * 局域网 4 211.53.0.245 0.74 ms AS3786 韩国 首尔 uplus.co.kr 5 1.208.107.205 0.88 ms AS3786 韩国 首尔 uplus.co.kr 6 1.213.104.126 41.25 ms AS3786 中国 香港 uplus.co.kr 7 1.213.148.154 46.57 ms AS3786 中国 香港 uplus.co.kr 8 6939.hkg.equinix.com (36.255.56.8) 164.30 ms AS4323,AS7713 中国 香港 equinix.com 9 100ge11-1.core1.lax2.he.net (184.105.64.125) 164.72 ms AS6939 美国 加利福尼亚州 洛杉矶 he.net 10 erx-cernet-bkb-as4538.10gigabitethernet3-2.core1.lax2.he.net (216.218.244.106) 301.27 ms AS6939 美国 加利福尼亚州 洛杉矶 he.net 11 101.4.117.185 306.19 ms AS4538 美国 加利福尼亚州 洛杉矶 教育网 12 101.4.117.213 306.94 ms AS4538 中国 北京 教育网 13 101.4.117.101 304.94 ms AS4538 中国 北京 教育网 14 101.4.114.173 303.02 ms AS4538 中国 北京 教育网 15 * 16 * 17 202.115.254.246 330.48 ms AS4538 中国 四川 成都 四川教育和科研计算机网 教育网 18 * 19 * 20 * 21 dns.uestc.edu.cn (202.112.14.151) 333.94 ms AS24355 中国 四川 成都 教育网 ----------------------------------------------------------------------
6、腾讯云韩国服务器上行、下行速度测试。主要是测评国内电信、联通、移动三网的速度,就测试结果来看,站长开通时选择的是5M上行带宽基本跑满没有问题,下行估计是100M带宽端口。
---------------------------------------------------------------------- CPU Model : Intel(R) Xeon(R) CPU E5-26xx v4 CPU Cores : 2 Cores @ 2394.454 MHz x86_64 CPU Cache : 4096 KB OS : CentOS 7.6.1810 (64 Bit) KVM Kernel : 4.14.129-bbrplus Total Space : 1.9 GB / 50.0 GB Total RAM : 86 MB / 3944 MB (128 MB Buff) Total SWAP : 0 MB / 0 MB Uptime : 0 days 0 hour 48 min Load Average : 0.01, 0.03, 0.00 TCP CC : bbrplus ASN & ISP : AS132203, ComsenzNet Organization : Tencent cloud computing (Beijing) Co., Ltd. Location : Palo Alto, United States / US Region : California ---------------------------------------------------------------------- I/O Speed( 1.0GB ) : 106 MB/s I/O Speed( 1.0GB ) : 90.5 MB/s I/O Speed( 1.0GB ) : 109 MB/s Average I/O Speed : 101.8 MB/s ---------------------------------------------------------------------- Node Name Upload Speed Download Speed Latency Speedtest.net 4.84 Mbit/s 87.37 Mbit/s (*) 52.83 ms Fast.com 0.00 Mbit/s 106.3 Mbit/s - Wuhan1 CT 4.82 Mbit/s 44.66 Mbit/s - Wuhan CT 3.01 Mbit/s 62.04 Mbit/s - Lianyungang CT 3.60 Mbit/s 46.28 Mbit/s - Hangzhou CT 5.68 Mbit/s 83.94 Mbit/s - Suzhou CT 2.93 Mbit/s 31.71 Mbit/s - Hefei CT 2.19 Mbit/s 44.82 Mbit/s - Wuhan2 CT 4.37 Mbit/s 54.95 Mbit/s - Lanzhou CT 2.91 Mbit/s 4.41 Mbit/s - Kunming CU 5.11 Mbit/s 39.78 Mbit/s - Chengdu CU 4.42 Mbit/s 83.19 Mbit/s - Nanning CU 5.61 Mbit/s 67.69 Mbit/s - Lanzhou CU 5.33 Mbit/s 83.48 Mbit/s - Ningxia CU 4.39 Mbit/s 75.58 Mbit/s - Wuhan CU 4.90 Mbit/s 79.56 Mbit/s - Hefei CU 5.73 Mbit/s 79.35 Mbit/s - Beijing CU 3.31 Mbit/s 84.00 Mbit/s - Nanjing CU 5.55 Mbit/s 87.52 Mbit/s - ShangHai CU 3.25 Mbit/s 77.26 Mbit/s - Shanghai CU 3.17 Mbit/s 88.16 Mbit/s - ShangHai5G CU 3.38 Mbit/s 87.39 Mbit/s - Changchun CU 5.53 Mbit/s 82.81 Mbit/s - Xi an CU 3.20 Mbit/s 82.84 Mbit/s - Hangzhou CM 4.75 Mbit/s 67.04 Mbit/s - Ningbo CM 3.20 Mbit/s 78.65 Mbit/s - Shenyang CM 4.89 Mbit/s 30.31 Mbit/s - Guangzhou CM 5.50 Mbit/s 10.22 Mbit/s - Kashi CM 5.22 Mbit/s 17.04 Mbit/s - Hetian CM 3.80 Mbit/s 59.43 Mbit/s - Lasa CM 5.65 Mbit/s 67.83 Mbit/s - Wulumuqi CM 5.55 Mbit/s 60.61 Mbit/s - Nanning CM 4.45 Mbit/s 76.58 Mbit/s - Lanzhou CM 3.13 Mbit/s 80.40 Mbit/s - Chongqing CCN 2.71 Mbit/s 23.48 Mbit/s - ---------------------------------------------------------------------- Finished in : 18 min 2 sec Timestamp : 2019-11-17 15:25:48 GMT+8 Results : /root/superbench.log ----------------------------------------------------------------------
7、测试腾讯云韩国服务器全球节点访问速度,主要测试的是下行带宽速度及效果。
---------------------------------------------------------------------- CPU model : Intel(R) Xeon(R) CPU E5-26xx v4 Number of cores : 2 CPU frequency : 2394.454 MHz Total size of Disk : 50.0 GB (1.9 GB Used) Total amount of Mem : 3944 MB (85 MB Used) Total amount of Swap : 0 MB (0 MB Used) System uptime : 0 days, 1 hour 8 min Load average : 0.00, 0.08, 0.08 OS : CentOS 7.6.1810 Arch : x86_64 (64 Bit) Kernel : 4.14.129-bbrplus ---------------------------------------------------------------------- I/O speed(1st run) : 108 MB/s I/O speed(2nd run) : 109 MB/s I/O speed(3rd run) : 65.4 MB/s Average I/O speed : 94.1 MB/s ---------------------------------------------------------------------- Node Name IPv4 address Download Speed CacheFly 204.93.150.152 3.63MB/s Linode, Tokyo2, JP 139.162.65.37 365KB/s Linode, Singapore, SG 139.162.23.4 143KB/s Linode, London, UK 176.58.107.39 8.20MB/s Linode, Frankfurt, DE 139.162.130.8 8.43MB/s Linode, Fremont, CA 50.116.14.9 9.05MB/s Softlayer, Dallas, TX 173.192.68.18 7.35MB/s Softlayer, Seattle, WA 67.228.112.250 4.17MB/s Softlayer, Frankfurt, DE 159.122.69.4 4.84MB/s Softlayer, Singapore, SG 119.81.28.170 116KB/s Softlayer, HongKong, CN 119.81.130.170 9.01MB/s ----------------------------------------------------------------------







