搬瓦工VPS当中目前明星线路有香港CN2 GIA、香港CMI、日本CN2 GIA、美国CN2 GIA、日本软银、荷兰联通AS9929、澳大利亚联通AS9929!其中香港CMI和澳大利亚悉尼联通AS992为限量的特价VPS、属于随机补充库存的产品,需要碰运气才能抢购得到!关于搬瓦工VPS最便宜的限量特价VPS整理可以查看此文章:(搬瓦工最便宜的VPS)搬瓦工VPS香港CMI、美国CN2 GIA、澳大利亚AS9929线路特价限量款VPS整理,可以了解一下搬瓦工限量特价VPS有哪些线路及机房可以选择!
说到搬瓦工香港VPS,也是比较高大尚的VPS产品了,搬瓦工香港VPS线路是电信CN2 GIA、移动联通直连,并且是1Gbps大带宽端口的香港CN2 GIA VPS。其实香港CN2 GIA网络1Gbps大带宽端口的是比较少见的,目前行业当中能做到1Gbps带宽端口的香港CN2 GIA VPS确实是为数不多的!由于香港CN2 GIA线路价格比较贵,所以搬瓦工1Gbps带宽端口的香港CN2 GIA VPS也是比较贵的,最低配置2核2G内存、500G月流量、月付没有折扣的情况下是89.99美元每月,使用搬瓦工VPS最新最大力度的优惠码折后是84.06美元/月!
便宜VPS)搬瓦工1Gbps大带宽香港CN2网络VPS补货84美元/月起" src="https://www.zhuji999.com/wp-content/uploads/2020/06/24034c26cbfc29f.png" alt="" width="1023" height="398" />
1、搬瓦工香港CN2 GIA VPS套餐整理
搬瓦工香港CN2 GIA VPS所有套餐如下,其中10核32G内存、12核64G内存是最近新上线的高端配置套餐,给的流量也比较大,适合企业级别的用途!所有方案默认只给1个IP,同时搬瓦工香港VPS是不支持切换其他机房的。
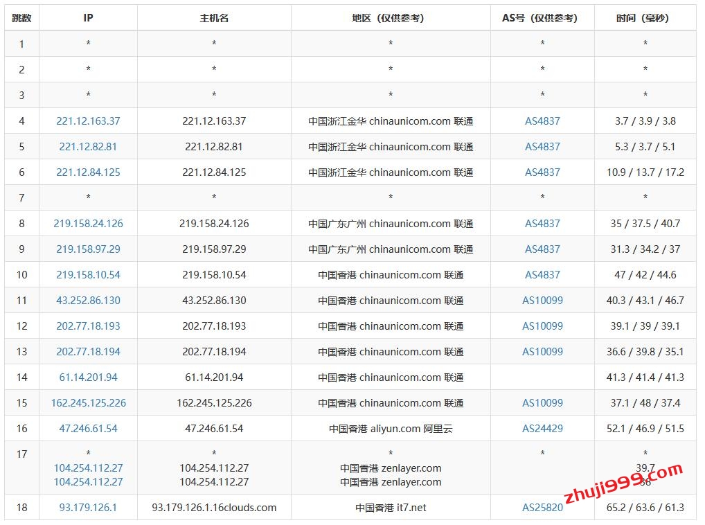
- 香港HKHK_8机房CN2 GIA线路测试IP:93.179.126.*(*请用1-254之间适的数字代替)
| CPU | 内存 | SSD硬盘 | 带宽/流量 | 价格(原价) | 链接地址 |
| 2核心 | 2GB | 40GB RAID10 | 1Gbps/500GB | $89.99/月、$899.99/年 | 点击直达 |
| 4核心 | 4GB | 80GB RAID10 | 1Gbps/1000GB | $155.99/月、$1559.99/年 | 点击直达 |
| 6核心 | 8GB | 160GB RAID10 | 1Gbps/2000GB | $299.99/月、$2999.99/年 | 点击直达 |
| 8核心 | 16GB | 320GB RAID10 | 1Gbps/4000GB | $589.99/月、$5899.99/年 | 点击直达 |
| 10核心 | 32GB | 640GB RAID10 | 1Gbps/6000GB | $989.99/月、$9989.99/年 | 点击直达 |
| 12核心 | 64GB | 1280GB RAID10 | 1Gbps/8000GB | $1889.99/月、$18989.99/年 | 点击直达 |
2、搬瓦工香港CN2 GIA VPS简单测评结果
1、搬瓦工香港CN2 GIA VPS国内电信、联通、移动三网ping测试结果。215个测速节点,平均延迟只有53.1毫秒,基本和大陆机房延迟差不多了!
2、全球节点(含大陆节点)丢包及抖动测试。搬瓦工香港CN2 GIA VPS带宽稳定性是比较不错的。
3、搬瓦工香港CN2 GIA VPS国内电信、联通、移动去程路由追踪测试。
电信去程是CN2 GIA直连香港。
联通去程是AS10099线路直连香港。
移动去程去中国移动骨干网AS9808直连。















